氮 氮作為合金元素早期用于Cr-Mn-N和Cr-Mn-Ni-N奧氏體不銹鋼中,以節約鎳。除節鎳效果外,氮通過固溶強化可顯著提高奧氏體不(bu)銹鋼(gang)的強度,而不顯著損害其塑性和韌性,同時氮還可以提高鋼的耐均勻腐蝕(shi)、耐點蝕(shi)、耐縫隙腐蝕和耐晶間(jian)腐蝕的性能。
由于氮的(de)(de)良好作用(yong),用(yong)氮合金(jin)化的(de)(de)奧氏體不(bu)銹(xiu)鋼不(bu)斷取(qu)得進展并獲得應用(yong)。目前應用(yong)的(de)(de)含(han)氮奧氏體不(bu)銹(xiu)鋼可以分為三種類(lei)型:
1. 控氮型
此類鋼(gang)(gang)是在(zai)超低碳(tan)(0.02%~0.03%)鉻鎳奧(ao)氏體不銹鋼(gang)(gang)中加入0.05%~0.12%N,用以提高鋼(gang)(gang)的強度(du),使其達到含穩定(ding)化元素鈦或普(pu)通低碳(tan)(≤0.08%)奧(ao)氏體不銹鋼(gang)(gang)的水平。
2. 中氮型
此(ci)類鋼(gang)(gang)含有(you)0.12%~0.40%N,是在(zai)正(zheng)常大氣壓力條件下冶煉和澆鑄所得到的(de)氮合(he)金化奧氏體不銹鋼(gang)(gang)。此(ci)類鋼(gang)(gang)以耐腐蝕為主(zhu)要目的(de),同時具(ju)有(you)較(jiao)高的(de)強(qiang)度。
3. 高氮型
此(ci)類鋼(gang)氮(dan)含(han)量(liang)在0.40%以上。此(ci)類鋼(gang)在加(jia)壓條(tiao)件下(xia)冶煉和澆鑄,或(huo)者調整鋼(gang)中的(de)鉻、錳含(han)量(liang)在常(chang)規(gui)條(tiao)件下(xia)冶煉和澆鑄,將(jiang)氮(dan)加(jia)入到足(zu)夠高的(de)水平。此(ci)類鋼(gang)主要在固(gu)溶(rong)態或(huo)半冷加(jia)工狀(zhuang)態下(xia)使用,既具有(you)高強度,又耐腐(fu)蝕(shi)。
氮形成奧氏體的能力與碳相當,約為鎳的30倍。氮在奧氏體不銹鋼中可代替部分鎳,可降低鋼中的鐵素體含量,并使奧氏體更穩定,甚至可避免出現馬氏體轉變。在鉻鎳奧氏體不銹鋼中,氮含量的增加可形成氮化物Cr2N(圖9.54)。

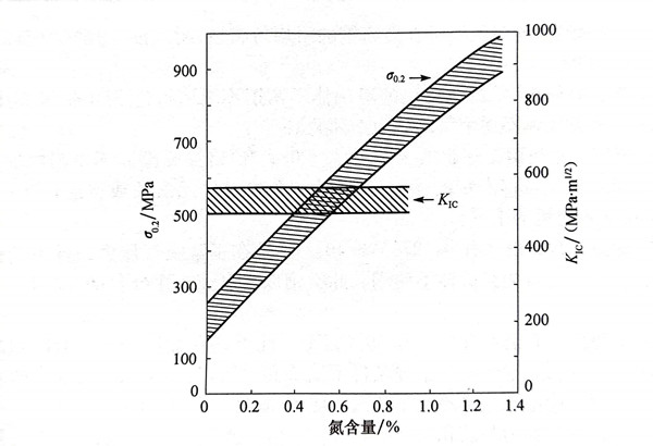
氮顯著提高奧氏體鋼的強度(圖4.19),每加入0.010%N,可提高鉻鎳奧氏體不銹鋼的室溫強度(σ0.2、σb)60~100MPa,其塑性仍保持足夠高的水平。圖9.67顯示氮含量對022Cr19Ni10鋼室溫力學性能的影響。在高氮奧氏體鋼中,氮亦可以提高其強度,氮含量為1.2%的低碳Cr-Ni-Mn-N奧氏體不銹鋼的屈服強度可達800~900MPa。曾對低碳的18Cr-18Mn-N奧氏體不銹鋼的力學性能進行過研究,經固溶處理后可獲得單一的奧氏體組織,圖9.68為氮含量對其室溫屈服強度和斷裂韌度的影響。研究結果表明,在氮固溶于奧氏體的情況下,其含量高至0.74%時,斷裂韌度不降低,而其屈服強度顯著提高。通過冷加工變形,可以進一步提高其屈服強度。在固溶氮含量為0.58%時,經過40%的冷變形,鋼的屈服強度可達1400~1500MPa,其斷裂韌度將由很高的500MPa·m1/2降至依然不錯的200MPa·m1/2。

在氮含量小于0.67%時,鉻鎳奧氏體不銹鋼仍有低(di)(di)的韌(ren)(ren)脆轉變(bian)溫度,在-200℃的低(di)(di)溫下(xia)仍有足夠(gou)高(gao)的沖(chong)擊(ji)性(xing)能,但當(dang)氮含量達到0.84%時,其(qi)韌(ren)(ren)脆轉變(bian)溫度較高(gao),-200℃的沖(chong)擊(ji)韌(ren)(ren)性(xing)已顯得(de)過低(di)(di)。
在一些酸性介質中,氮提高奧氏體不銹鋼耐一般腐蝕性能。適量的氮還提高奧氏體不銹鋼敏化態的耐晶間腐蝕性能,這是由于氮作為活性元素優先沿晶界聚集,氮降低碳原子和鉻原子的擴散能力,從而抑制M23C6型碳化物的析出和延緩σ相、x相的形成。圖9.69為氮對17Cr-13Ni-4,5Mo鋼中M23C6型碳化物析出行為的影響。適量的氮還可以顯著改善敏化狀態的耐晶間應力腐蝕開裂(lie)。

氮還提高(gao)鉻鎳鉬奧氏體不銹(xiu)鋼(gang)耐稀硝酸腐蝕的性(xing)能(neng)。
在氯化物環境中(zhong),氮(dan)(dan)顯著提高奧(ao)氏體不銹(xiu)鋼(gang)耐(nai)點(dian)蝕(shi)和(he)縫(feng)隙腐(fu)蝕(shi)的(de)性(xing)能。研(yan)究表明,氮(dan)(dan)僅是(shi)強化鉻(ge)(ge)、鉬元素在奧(ao)氏體中(zhong)的(de)耐(nai)蝕(shi)作用,鉻(ge)(ge)、鉬的(de)存在是(shi)氮(dan)(dan)改善奧(ao)氏體不銹(xiu)鋼(gang)耐(nai)蝕(shi)作用的(de)前提。氮(dan)(dan)耐(nai)點(dian)蝕(shi)和(he)耐(nai)縫(feng)隙腐(fu)蝕(shi)的(de)能力約(yue)相(xiang)當(dang)于鉻(ge)(ge)的(de)30倍。
氮提高不銹鋼耐點蝕和耐縫隙腐蝕的機理尚有不同的觀點:氮在表面膜中富集,同時使表面膜中富鉻,從而提高鋼的鈍化能力和鈍態穩定性;氮與閉塞區的溶液反應形成NH-4,消耗H-,使初始蝕坑內pH升高,氮亦可產生NO-3,均有利于鋼的鈍化。
鉻鎳奧(ao)氏體不銹鋼(gang)(gang)(gang)中(zhong)的(de)(de)(de)(de)氮含量在0.12%~0.15%時,鋼(gang)(gang)(gang)的(de)(de)(de)(de)熱、冷加工(gong)性及(ji)冷成形性等將有所下降(jiang)。熱加工(gong)性能的(de)(de)(de)(de)降(jiang)低是(shi)由于鋼(gang)(gang)(gang)中(zhong)氮化物和碳氮化物的(de)(de)(de)(de)析(xi)出影響了(le)鋼(gang)(gang)(gang)的(de)(de)(de)(de)熱塑性,而氮的(de)(de)(de)(de)固(gu)(gu)溶(rong)強化又減(jian)緩鋼(gang)(gang)(gang)的(de)(de)(de)(de)回復過程。冷加工(gong)性和冷成形性的(de)(de)(de)(de)降(jiang)低主要是(shi)氮固(gu)(gu)溶(rong)強化所致。

