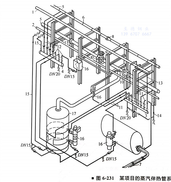
蒸汽分(fen)配站和(he)供氣(qi)管的布置(zhi)(圖6-226)
冷(leng)凝水回收(shou)時收(shou)集站和(he)冷(leng)凝水回收(shou)管的布置(圖6-227)

注:1. 冷(leng)(leng)凝(ning)水收(shou)集站高于冷(leng)(leng)凝(ning)水總管(guan)時,低點可不設排液口(kou);回(hui)水管(guan)應無袋形并坡(po)向(xiang)冷(leng)(leng)凝(ning)水總管(guan)。
2. 冷(leng)凝(ning)水(shui)收集站至少(shao)有3根冷(leng)凝(ning)水(shui)支管時才設置,否則可直接接至冷(leng)凝(ning)水(shui)總管上。
3. 冷凝水(shui)收集站應布(bu)置在(zai)不妨(fang)礙通行,便于操作(zuo)的地方(fang),布(bu)置應考慮(lv)整齊和美觀。
4. 冷凝水回水管的閥門應(ying)布置在(zai)便(bian)于接(jie)近的地方。
5. 冷凝(ning)水(shui)回水(shui)管(guan)應從冷凝(ning)水(shui)總管(guan)的頂(ding)部引(yin)人。



熱(re)水分配站限(xian)流孔板的錯(cuo)誤設計
有(you)的(de)設計人員為每根(gen)伴熱(re)(re)供管都(dou)增(zeng)加了限流孔板,這(zhe)是沒有(you)真正理解限流孔板的(de)作(zuo)用(yong),其實只有(you)在同一(yi)個熱(re)(re)水分配站上(shang)最(zui)短熱(re)(re)水伴管當量長度小于最(zui)長伴管當量長度70%的(de)時候(hou),才(cai)在較短管線上(shang)增(zeng)加限流孔板或截止閥才(cai)有(you)作(zuo)用(yong),否則既浪費又不起作(zuo)用(yong)。

