①. 集液(ye)包應設(she)置在下列(lie)場合(he)。
a. 蒸汽主管的末端。
b. 蒸汽管線的立式II形補(bu)償(chang)彎管或立管最低處(chu)。
c. 蒸汽水平管的低點處。
d. 裝(zhuang)置邊界(jie)蒸(zheng)汽管線切斷閥之前。
②. 水(shui)平敷設(she)的長蒸(zheng)汽管應設(she)集液包,其間隔如下。
a. 在裝置內,飽和(he)蒸(zheng)汽宜(yi)為80m,過熱蒸(zheng)汽宜(yi)為160m。
b. 在裝置外,順(shun)坡時宜為(wei)300m,逆坡時宜為(wei)200m。
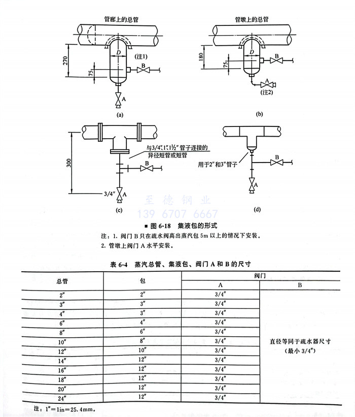
③. 管廊上蒸汽總(zong)管末端(duan)的(de)集液(ye)包(bao)配管應(ying)考(kao)慮(lv)以下(xia)要(yao)求。
a. 集(ji)液包及接管(guan)與梁之間(jian)的凈距(ju)應大于(yu)熱位移量及保溫所(suo)需的空間(jian),且不小于(yu)200mm(圖6-17)。
b. 集(ji)液包的(de)冷凝(ning)水出口管的(de)方位不宜向管廊梁(liang)的(de)一側引出,同時避免與管廊下層(ceng)管道相碰(peng)。疏水閥應布置(zhi)在不影響通行的(de)地方。
c. 集液包的冷(leng)凝(ning)水出口管(guan)的走向,除(chu)考慮管(guan)道(dao)柔(rou)性要求外(wai),還(huan)要考慮便(bian)于設置管(guan)道(dao)支(zhi)架(jia)及疏水閥組(zu)的支(zhi)架(jia)。
d. 在蒸汽主管的(de)位移較大時,靠近主管的(de)小管支架應盡量利(li)用主管生根(gen),以減(jian)小相對位移。
e. 蒸汽管(guan)徑(jing)小于DN80時,根(gen)據項目要求可(ke)不(bu)必采用(yong)集液(ye)包,僅(jin)設低(di)點(dian)排放(fang)至(zhi)疏水閥即(ji)可(ke)。

④. 集液包的結構如下。
a. 集液包的冷(leng)凝水出口管(guan)線應設切斷閥或蒸汽(qi)疏水閥組。
b. 集液包通常采用(yong)標準管件組合(he)而成,應(ying)符(fu)合(he)管道(dao)等級規定。集液包下端宜用(yong)法蘭蓋,兼作吹掃用(yong)。也可以用(yong)焊接管帽(mao),但需增加(jia)排(pai)液口。
c. 根據蒸(zheng)汽主管(guan)的管(guan)徑范圍組(zu)合形式,集(ji)液包有如圖6-18所(suo)示的幾種(zhong)形式。蒸(zheng)汽總管(guan)、集(ji)液包、閥(fa)門A和B的尺寸見表6-4。


