①. 往復泵的管道存在著由于流體脈動而發生振動的現象,管道應盡量減少拐彎。
②. 為防止往(wang)復泵管道的脈沖振(zhen)(zhen)動(dong),泵出口管道第一個支(zhi)架(jia)(jia)(jia)應采(cai)用固定架(jia)(jia)(jia),其余支(zhi)架(jia)(jia)(jia)應采(cai)用防振(zhen)(zhen)管卡,同時注意(yi)減小支(zhi)架(jia)(jia)(jia)跨距,增加(jia)支(zhi)架(jia)(jia)(jia)剛度,以(yi)抑制(zhi)可能產(chan)生的機械振(zhen)(zhen)動(dong)。
③. 除注意上述(shu)要(yao)求(qiu)外(wai),還應根據(ju)工(gong)藝要(yao)求(qiu)及泵制造廠的使用經驗。
④. 在泵出(chu)口(kou)(kou)(或盡(jin)量靠(kao)近出(chu)口(kou)(kou))處安裝足夠容積(ji)的(de)緩(huan)沖(chong)罐(或脈動(dong)衰減(jian)器(qi)),以緩(huan)解或消除所(suo)產生(sheng)的(de)脈沖(chong)振動(dong)。
⑤. 當輸送介(jie)質溫度(du)高(gao)于180℃時,減振緩沖(chong)罐的連接管應有3m左右(you)長度(du)的不保(bao)溫管段(圖(tu)6-178)。

⑥. 在泵(beng)的(de)(de)前(qian)端應留有(you)活塞桿(gan)(gan)抽(chou)出檢修(xiu)的(de)(de)空間(jian);管(guan)道布置不應妨礙活塞及拉桿(gan)(gan)的(de)(de)拆(chai)卸和檢修(xiu)。
⑦. 在泵和第一個容器之(zhi)間的進出口管(guan)道(dao)(dao)上的支管(guan)公稱直徑小于或等于25mm(包括(kuo)出口管(guan)道(dao)(dao)上的壓力(li)表)時,接(jie)口根(gen)部需設(she)加強連接(jie)板,以(yi)防止管(guan)接(jie)口損壞(huai)。
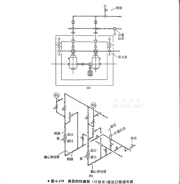
⑧. 典型的(de)柱(zhu)塞泵(beng)(計量泵(beng))進(jin)出口管道布置如圖6-179所(suo)示。


