一、塔的(de)平(ping)臺
塔平臺為從人孔、手孔處檢修設備;緊固法蘭;操作和維修調節閥組及檢修、安裝液面調節閥、大口徑閥門、檢測儀表、安全(quan)閥(fa)等附件而設。
當下列附件需要布置在距地面3600mm以上,或距平臺面1800mm以上時,應考慮設置平臺(從地面至3600mm以下的高度時,可使用移動平臺):控制閥組;重沸器;人孔;安全閥;DN100以上的閥,電動閥;取樣裝置;DN200及以上的盲法蘭(lan)或“8”字盲板;有必要增加法蘭的地方;液位計。
現有的(de)平(ping)臺寬度(du)一般為1000~1500mm。人孔用平(ping)臺最小寬度(du)為1000mm。
塔頂平臺是為(wei)操作吊柱、放空閥和維修安全閥設(she)置的(de),可(ke)制(zhi)成(cheng)方形,大小(xiao)按(an)需要確定。此外(wai),還應(ying)考慮(lv)如下事項。
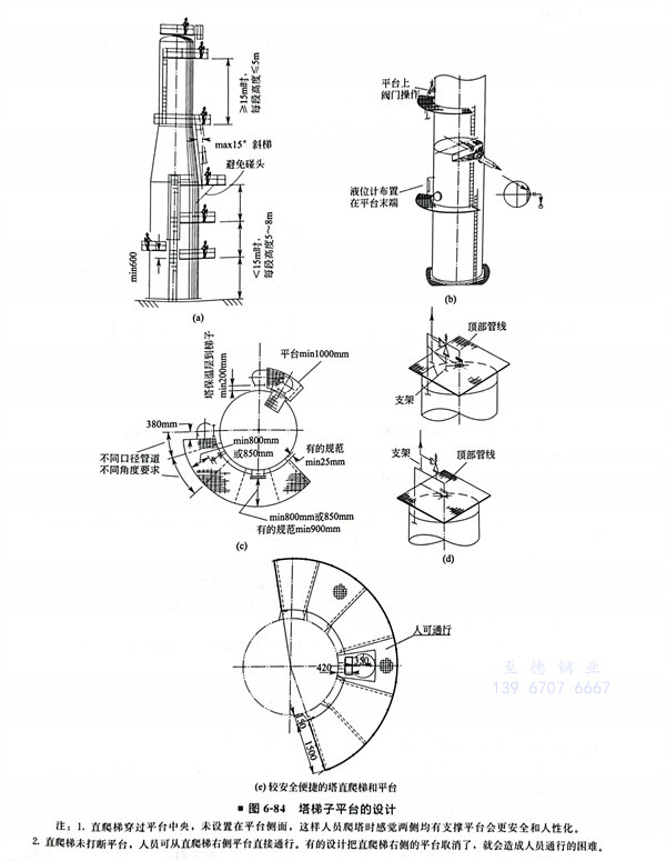
①. 人孔(kong)中心(xin)線(xian)以距平臺600~1000mm為宜,最(zui)適宜高度為750mm(SH 3011規(gui)定平臺距人孔(kong)底部不宜大于800mm)。
②. 有(you)兩個以(yi)上塔設(she)(she)備并(bing)列的情況下(xia),建議統一平臺(tai)標高,做聯合平臺(tai)。平臺(tai)應設(she)(she)防(fang)護(hu)欄(lan)桿(gan)和踢腳板,欄(lan)桿(gan)高度以(yi)1.2m為宜;平臺(tai)的進(jin)出口處應有(you)自(zi)動復(fu)位(wei)欄(lan)桿(gan);影響(xiang)檢修的欄(lan)桿(gan)段,應為可拆卸(xie)的。
③. 聯合平臺應(ying)(ying)考慮各塔(ta)、架之間的熱(re)脹及其移動因素,留有縫隙,加入適當的銷子。塔(ta)身用法蘭(lan)連接時,應(ying)(ying)在法蘭(lan)下側設(she)置平臺,平臺面與法蘭(lan)的距離不宜大于1.5m。
④. 通常,平(ping)臺(tai)的均布荷(he)載為250~50~400kgf/㎡(2.5~4kPa)為宜,因維修或管架原(yuan)因需要平(ping)臺(tai)承擔更大(da)負(fu)荷(he)時,須(xu)給(gei)設(she)備工程師提出條件。
圖(tu)6-83~圖(tu)6-85所示為平臺設(she)置的照片。


二、吊柱
通常,塔(ta)的高度(du)超過15m以上,及需滿(man)足(zu)以下(xia)要(yao)求時需要(yao)設置吊柱(zhu):有填料時;有內件及附(fu)件裝卸的情(qing)況。
吊柱布置應注意的(de)事項如下(xia)。
①. 吊柱下方地面應留有(you)充分的(de)作業(ye)空間。
②. 應能(neng)達到塔上所(suo)有檢修和(he)操(cao)作平臺(tai)的(de)位置。
③. 在吊柱回轉覆(fu)蓋范圍內,應有一(yi)處能夠避開所有平臺和管(guan)道(dao)的豎直通道(dao)。
④. 吊(diao)柱應布置在檢修(xiu)側范圍(wei)內(nei)。
吊柱布置如圖6-86所示(shi)。

三、梯子
塔器上(shang)的(de)梯(ti)子幾乎都是直梯(ti),是上(shang)下各(ge)層平臺以及安全逃生的(de)通道,也可作為觀察(cha)、操(cao)作和維修某些附件的(de)設施。
需要經常上去(qu)進行操(cao)作和(he)維修工作的(de)平(ping)臺應設置梯(ti)子;下(xia)列附(fu)件(jian)也(ye)可靠近直梯(ti)布置:3”及以下(xia)的(de)閥;各(ge)種(zhong)液(ye)位計(ji)視鏡(jing);手孔;壓(ya)力計(ji)等儀(yi)表。
梯(ti)子布置應注意的事項如下:
①. 梯子的布置間距必須滿(man)足GB50160《石(shi)油化工企業(ye)設計防火規范》的規定。
②. 直梯寬度以0.4~0.6m為宜(yi),高度超過2m時應加設(she)安全(quan)護(hu)籠。
③. 塔平臺直梯(ti)應(ying)自下而上分段錯開布置。
④. 高(gao)度在15m及以下(xia)時,每段(duan)高(gao)5~8m為宜,超過15m時,每段(duan)應不(bu)高(gao)于5m,否則應設中間休(xiu)息平臺(按SH3011的規定)。
四、管口方位
塔(ta)(ta)的(de)管(guan)道(dao)(dao)與其他設備管(guan)道(dao)(dao)相比,其特點是根(gen)據工(gong)藝要求安排(pai)好管(guan)口和塔(ta)(ta)盤等(deng)內部結(jie)構的(de)關系(xi)(xi),這種(zhong)關系(xi)(xi)的(de)好壞對管(guan)道(dao)(dao)布置的(de)簡化、操(cao)(cao)作的(de)方(fang)便、檢(jian)修的(de)難易、是否經(jing)濟等(deng)有很大的(de)影(ying)響。因此,需(xu)要對塔(ta)(ta)的(de)內部結(jie)構、塔(ta)(ta)的(de)操(cao)(cao)作進(jin)行充分(fen)了解。
1. 人(ren)孔 從檢(jian)修(xiu)(xiu)和(he)操作(zuo)上考(kao)慮,人(ren)孔方位應布置在(zai)檢(jian)修(xiu)(xiu)側,且(qie)宜設(she)(she)在(zai)同(tong)一垂線(xian)上,但不能朝向(xiang)加熱爐和(he)其他(ta)危(wei)險氣體發生區(qu)域(yu);若有兩臺塔并列時,人(ren)孔應朝向(xiang)一致(同(tong)一方向(xiang))。對有塔盤等內部(bu)結構的(de)塔,人(ren)孔開設(she)(she)的(de)方位必須(xu)注意同(tong)內部(bu)構件的(de)關系,應開設(she)(she)在(zai)降液管以(yi)外的(de)區(qu)域(yu)。
①. 塔頂人孔。注意(yi)到降液盤(pan)區(qu)即可(ke),但降液管在(zai)300mm以下時,可(ke)圓周(zhou)(360°)布(bu)置(圖 6-87)
②. 中間人孔。
③. 塔底人孔。


2. 儀(yi)表管(guan)口 儀(yi)表最好不要放在人孔旁(有破損(sun)的危(wei)險)。
①. 液位計和(he)液位調節器的開口應(ying)布置在便于(yu)監視、檢查及能從抽出泵(beng)和(he)調節閥的旁通處看得見的位置,且(qie)液面應(ying)不受流入液體(ti)沖擊的影響。
②. 液(ye)位(wei)調(diao)節變送器,應設在平臺(tai)或梯(ti)子上(shang)操作方便的地(di)方,站(zhan)在梯(ti)子平臺(tai)上(shang)操作的液(ye)位(wei)調(diao)節器和(he)液(ye)位(wei)計宜安裝在梯(ti)子的右側(ce)。
③. 液(ye)(ye)(ye)位(wei)(wei)(wei)調節(jie)器(qi)最適宜(yi)的(de)位(wei)(wei)(wei)置(zhi),是在檢查液(ye)(ye)(ye)位(wei)(wei)(wei)調節(jie)器(qi)時(shi),可以看到(dao)液(ye)(ye)(ye)位(wei)(wei)(wei)計的(de)地(di)方(fang);并(bing)應(ying)考慮由于液(ye)(ye)(ye)相進料影響(xiang)的(de)液(ye)(ye)(ye)位(wei)(wei)(wei)波(bo)(bo)動(dong)。當設(she)(she)置(zhi)的(de)擋板不能避免液(ye)(ye)(ye)位(wei)(wei)(wei)波(bo)(bo)動(dong)時(shi),應(ying)與(yu)設(she)(she)備(bei)專業協商(shang)解決(jue)液(ye)(ye)(ye)位(wei)(wei)(wei)計的(de)方(fang)位(wei)(wei)(wei),取(qu)決(jue)于受(shou)液(ye)(ye)(ye)槽與(yu)重沸器(qi)返回口間的(de)關系(圖6-92、圖6-93)。
④. 兩個(ge)低溫液位計不要靠在一起(qi),防(fang)止“冷橋”產生和結(jie)霜(shuang)(圖6-94)。
⑤. 壓(ya)力(li)表開口(kou)和壓(ya)差計上部開口(kou)應(ying)布(bu)置在氣相區。框架內的塔,如果(guo)壓(ya)力(li)表、溫度計管口(kou)與結構梁過(guo)于(yu)接(jie)近,應(ying)考慮安裝的可能性,必要時與設備工(gong)程師商量以進行修改。

3. 回流管、進料(liao)管和抽出管等(deng)布置(zhi)(zhi)(圖6-95~圖6-97)塔頂(ding)氣相(xiang)(餾出線)開口(kou)(kou)(kou)布置(zhi)(zhi)在塔頂(ding)頭蓋中部,安全閥(fa)開口(kou)(kou)(kou)、放(fang)空管開口(kou)(kou)(kou)一般布置(zhi)(zhi)在塔頂(ding)氣相(xiang)開口(kou)(kou)(kou)的附近,也可將(jiang)放(fang)空管開口(kou)(kou)(kou)布置(zhi)(zhi)在塔頂(ding)氣相(xiang)管道(dao)最高水平(ping)段的頂(ding)部。
塔頂回(hui)流或中段回(hui)流的開(kai)口(kou)(kou),一般布置(zhi)在塔板的管道側,回(hui)流管的內部結構(gou)和開(kai)口(kou)(kou)方位與塔溢流方式有關。
氣相進(jin)料開(kai)(kai)口(kou)一般(ban)(ban)布置(zhi)在塔板上方(fang),與(yu)降液(ye)管(guan)平行,當(dang)氣流(liu)速度較(jiao)高(gao)時(shi),應設(she)分(fen)配管(guan);氣液(ye)相混合進(jin)料開(kai)(kai)口(kou)一般(ban)(ban)布置(zhi)在塔板上方(fang),并(bing)設(she)分(fen)配管(guan),當(dang)流(liu)速較(jiao)高(gao)時(shi)應切線進(jin)入(ru),并(bing)設(she)螺旋導板。
塔(ta)板的抽出口(kou):單溢流(liu)塔(ta)板,從流(liu)體的均(jun)衡性(xing)考慮(lv),開口(kou)應與(yu)受液槽垂(chui)直布(bu)置;雙溢流(liu)塔(ta)板,無論是(shi)一個開口(kou)或是(shi)兩(liang)個開口(kou),開口(kou)都宜(yi)布(bu)置在與(yu)降(jiang)液管平行(xing)的塔(ta)中心(xin)線上。


