①. 此處(chu)的高(gao)點排(pai)氣及低點排(pai)液(ye)是指在(zai)PID圖上可以不表(biao)示的。高(gao)點排(pai)氣用于(yu)水(shui)(shui)壓試(shi)驗及液(ye)體管(guan)道的排(pai)氣,低點排(pai)液(ye)用于(yu)水(shui)(shui)壓試(shi)驗及停車(che)排(pai)凈等。PID圖上所表(biao)示的排(pai)氣和排(pai)液(ye)應按流程要求,并遵循有關規定進行(xing)設計。
②. 不銹鋼管道的高點與低點均應分別備有排氣口與排液口,并位于容易接近的地方。如該處(相同高度)有其他接口可利用時,可不另設排氣口或排液口。除管廊上的管道外,對于公稱直徑小于或等于25mm的管道可省去排氣口。對于蒸汽伴熱管迂回時出現的低點處,可不設排液口。
③. 高(gao)點排(pai)(pai)氣(qi)管(guan)的(de)(de)公(gong)稱直(zhi)徑(jing)(jing)最(zui)小應為(wei)(wei)15mm;低點排(pai)(pai)液(ye)(ye)管(guan)的(de)(de)公(gong)稱直(zhi)徑(jing)(jing)最(zui)小應為(wei)(wei)20mm。當主管(guan)公(gong)稱直(zhi)徑(jing)(jing)為(wei)(wei)15mm時,可采用(yong)等徑(jing)(jing)的(de)(de)排(pai)(pai)液(ye)(ye)口。SH3012規定了放氣(qi)口、排(pai)(pai)液(ye)(ye)口的(de)(de)最(zui)小公(gong)稱直(zhi)徑(jing)(jing),對(dui)于(yu)小于(yu)或(huo)等于(yu)DN25的(de)(de)為(wei)(wei)15mm,對(dui)于(yu)DN40~150的(de)(de)為(wei)(wei)20mm,對(dui)于(yu)DN200~350的(de)(de)為(wei)(wei)25mm,對(dui)于(yu)大于(yu)或(huo)等于(yu)DN400的(de)(de)為(wei)(wei)40mm。高(gao)黏度介質管(guan)道排(pai)(pai)液(ye)(ye)口大于(yu)或(huo)等于(yu)DN25。
④. 氣體管道(dao)的高點排(pai)氣口(kou)可不設閥門,接管口(kou)應采(cai)用(yong)法蘭蓋或管帽等加以封閉(bi)。
⑤. 所(suo)有排液口最(zui)低點與地面或平臺的距(ju)離不(bu)宜小于150mm。
⑥. 飽和蒸汽管道的(de)低點應(ying)設集(ji)液(ye)包(bao)及蒸汽疏水閥組。
⑦. 對于(yu)全(quan)廠性的(de)(de)工藝(yi)、凝(ning)結水和水管道,在歷年最冷月(yue)月(yue)平(ping)均溫(wen)度的(de)(de)平(ping)均值高于(yu)0℃的(de)(de)地區,應少(shao)設(she)低(di)點(dian)排液(ye),低(di)于(yu)或等于(yu)0℃的(de)(de)地區,應在適當位置(zhi)設(she)低(di)點(dian)排液(ye)。
⑧. 氫氣管道上(shang)不宜(yi)設置高點(dian)排氣和低點(dian)排液。
⑨. 蒸汽主管(干管)的排液(ye)設(she)施應包括(kuo)撲(pu)集管、切斷閥和疏水閥(具體(ti)可見(jian)本書“蒸汽管道集液(ye)包”所述)。
⑩. 公(gong)用工程管(guan)道的末端(duan)應設置低點(dian)排液(ye)口(kou),以利排液(ye)和吹掃。
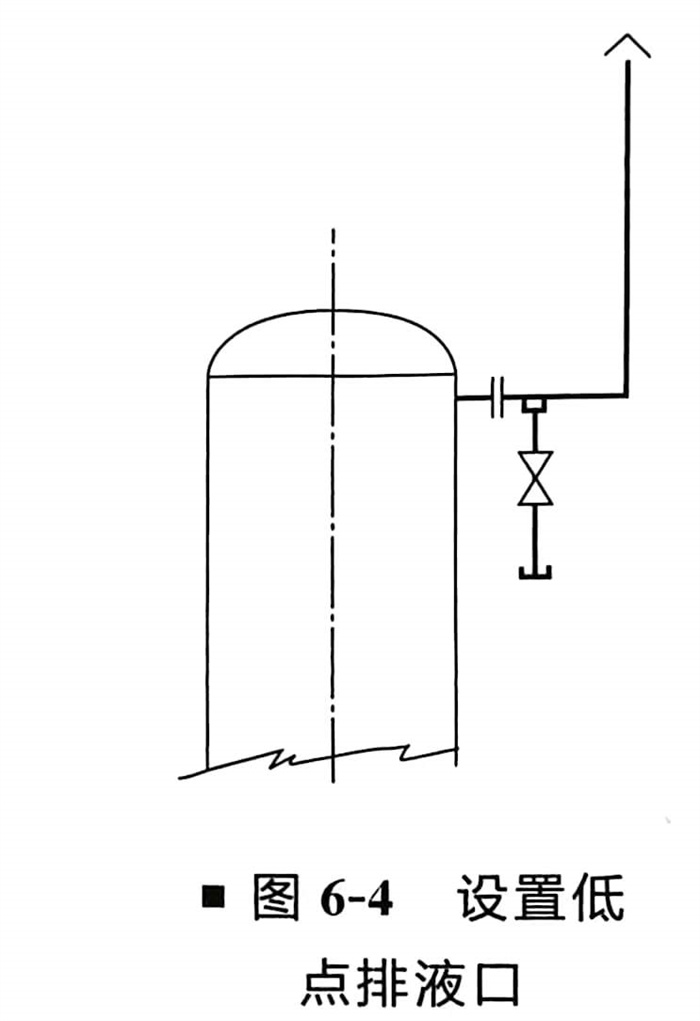
?. 凡向大氣排放的排氣管(guan)道,應設(she)置(zhi)低點(dian)排液口,如圖6-4所示。

?. 輸送催化劑或高(gao)黏度(du)的物(wu)料(liao)(如(ru)焦油、瀝青、重質(zhi)燃料(liao)油等)管道排氣、排液口的直徑應不小于DN25。
?. 漿液管道不宜設(she)置排氣和(he)排液口,如需要設(she)置排液口時其型式和(he)尺寸見圖6-5和(he)表6-3所示。

?. 輸送固體或漿料管道的排氣、排液管的切斷閥宜選用球(qiu)閥或旋塞閥。
?. 管道上排氣、排液口(kou)設(she)置的閥門應靠近(jin)主管。
?. 振動(dong)管(guan)道上直徑小于DN40密(mi)閉放(fang)空、放(fang)凈管(guan)根部接口(kou)處應(ying)采取加強措(cuo)施(shi)。
?. 輸(shu)送液態丁烷和更輕的(de)液化烴(jing)類管道上的(de)排(pai)氣(qi)、排(pai)液管的(de)切斷閥應設雙(shuang)閥。
?. 放(fang)(fang)氣或(huo)排(pai)(pai)(pai)液(ye)管(guan)(guan)上(shang)的(de)(de)(de)(de)切斷閥(fa)(fa),宜用(yong)閘閥(fa)(fa),閥(fa)(fa)后(hou)可(ke)接帶管(guan)(guan)帽短管(guan)(guan);對(dui)于(yu)高(gao)壓、極度(du)及高(gao)度(du)危(wei)害介質的(de)(de)(de)(de)管(guan)(guan)道(dao)(dao)應設(she)雙(shuang)閥(fa)(fa)。當設(she)置單閥(fa)(fa)時,應加盲板或(huo)法(fa)蘭蓋;連(lian)續操作的(de)(de)(de)(de)可(ke)燃(ran)氣體管(guan)(guan)道(dao)(dao)低點的(de)(de)(de)(de)排(pai)(pai)(pai)液(ye)閥(fa)(fa),應為雙(shuang)閥(fa)(fa)。排(pai)(pai)(pai)出的(de)(de)(de)(de)液(ye)體應排(pai)(pai)(pai)放(fang)(fang)至(zhi)密閉(bi)系統(tong):僅在開(kai)停工時使用(yong)的(de)(de)(de)(de)排(pai)(pai)(pai)液(ye)閥(fa)(fa),可(ke)設(she)一道(dao)(dao)閥(fa)(fa)門(men)并加螺紋(wen)堵頭、管(guan)(guan)帽、盲板或(huo)法(fa)蘭蓋。可(ke)燃(ran)液(ye)體管(guan)(guan)道(dao)(dao)以及大于(yu)2.5MP。蒸汽管(guan)(guan)道(dao)(dao)上(shang)排(pai)(pai)(pai)液(ye)管(guan)(guan)裝一個切斷閥(fa)(fa)時,應在端頭加管(guan)(guan)帽(管(guan)(guan)堵)盲板或(huo)法(fa)蘭蓋。
?. 容器設備上的(de)排氣(qi)管(guan)除作(zuo)為進出(chu)料呼吸用(yong)外,應設置(zhi)切斷閥(fa)(fa),閥(fa)(fa)門宜直(zhi)接與設備管(guan)口(kou)相(xiang)接。當(dang)只安裝一個切斷閥(fa)(fa)時其端部應設置(zhi)絲堵、管(guan)帽(mao)或盲法蘭密封。
?. 允許向(xiang)大(da)氣(qi)排(pai)放的介質排(pai)氣(qi)管端部的高(gao)度(du)應(ying)符合(he)本書“管道(dao)布置設(she)計的一(yi)般要求”中“32大(da)氣(qi)排(pai)放的相(xiang)關規定(ding)”。
21. 為保證閥門檢修、絲堵、管(guan)(guan)帽及法(fa)蘭拆(chai)卸、軟管(guan)(guan)連(lian)接,管(guan)(guan)道上低點排液管(guan)(guan)管(guan)(guan)端(duan)距地面(mian)或樓板面(mian)的(de)凈距不得小(xiao)于100mm。
22. 接地漏或開口罐(guan)的放凈管管口應高(gao)出地漏或罐(guan)口大于(yu)或等于(yu)50mm。
23. 管(guan)道布置呈(cheng)U形II形時(shi),其水平(ping)或(huo)垂直管(guan)道上(shang)的(de)排(pai)氣、排(pai)液口(kou)安裝位置盡量設置在物(wu)料流向(xiang)的(de)下(xia)游端部。
24. 對易(yi)自(zi)聚、易(yi)凍(dong)結、易(yi)凝固(gu)、含固(gu)體介質的管(guan)道(dao)上的排液管(guan)不應配成如圖(tu)(tu)6-6(a)所(suo)示(shi)的彎(wan)管(guan)形式。一般應采用圖(tu)(tu)6-6(b)的形式。圖(tu)(tu)6-6(c)右側的排凈閥門放(fang)置不合理,閥門上側易(yi)積液。

25. 排氣(qi)、排液(ye)管(guan)端部連接(jie)形式。
a. 當采用(yong)管(guan)螺紋管(guan)件連接時(shi),排(pai)氣、排(pai)液閥(fa)出(chu)口處(chu)加(jia)絲堵密封。
b. 當采用(yong)承插焊接(jie)型管件連接(jie)時,排(pai)(pai)氣(qi)、排(pai)(pai)液閥出口處加螺紋(wen)管帽密封(feng)(feng)。如排(pai)(pai)氣(qi)、排(pai)(pai)液閥為法(fa)蘭連接(jie)時,可采用(yong)盲(mang)法(fa)蘭密封(feng)(feng),亦可采用(yong)螺紋(wen)法(fa)蘭加絲堵。
c. 當采(cai)用定型管(guan)件連(lian)接時,管(guan)端(duan)部加(jia)盲板法(fa)蘭(lan),需要時可采(cai)用螺紋法(fa)蘭(lan)加(jia)絲堵(du)。
26. 排(pai)氣和(he)排(pai)液型式分為(wei)兩類,一類為(wei)帶閥門型,另(ling)一類為(wei)不(bu)帶閥門型。不(bu)帶閥門的(de)排(pai)氣和(he)排(pai)液不(bu)宜采用。
各種類(lei)型的排(pai)氣、排(pai)液配(pei)管的選用應(ying)根據(ju)工程管道等級規(gui)定選用。
其中(zhong)螺(luo)紋(wen)連(lian)接主要用(yong)于低(di)(di)壓公(gong)用(yong)工(gong)程管(guan)道上(shang)的(de)排氣(qi)和排液。承插焊連(lian)接主要用(yong)于碳鋼(gang)或(huo)低(di)(di)合金鋼(gang)的(de)工(gong)藝管(guan)道或(huo)壓力較高(gao)的(de)公(gong)用(yong)工(gong)程管(guan)道上(shang)。法蘭連(lian)接主要用(yong)于不(bu)銹鋼(gang)等合金鋼(gang)工(gong)藝管(guan)道上(shang)。設備上(shang)的(de)排氣(qi)類型(xing)較多。圖6-7所示為常用(yong)排氣(qi)、排液管(guan)安(an)裝圖(含工(gong)藝要求排氣(qi)和排凈)。


