1. 空(kong)分站工藝流(liu)程簡(jian)介
空分裝(zhuang)(zhuang)置(zhi)(Air Separation Unit,ASU)是用(yong)來分離(li)空氣中的(de)各(ge)組分氣體,為全廠工藝(yi)裝(zhuang)(zhuang)置(zhi)及各(ge)輔助裝(zhuang)(zhuang)置(zhi)提供所需要的(de)氧氣、氮氣、氬(ya)氣等(deng)氣體和(he)液體產(chan)品的(de)裝(zhuang)(zhuang)置(zhi)。氧氣和(he)氮氣是煉(lian)化(hua)裝(zhuang)(zhuang)置(zhi)中不可缺少的(de)原料氣和(he)保護氣。
在(zai)空分(fen)(fen)(fen)領域(yu)中,深(shen)冷法(fa)(fa)、變壓吸(xi)(xi)附法(fa)(fa)、膜分(fen)(fen)(fen)離法(fa)(fa)是(shi)應用(yong)(yong)于(yu)工業生(sheng)產(chan)的(de)(de)三大分(fen)(fen)(fen)離方法(fa)(fa)。深(shen)冷法(fa)(fa)是(shi)傳統的(de)(de)制氧(yang)(氮(dan))方法(fa)(fa),在(zai)國內外的(de)(de)制氧(yang)(氮(dan))行(xing)業中仍占據著統治(zhi)地位,適(shi)用(yong)(yong)于(yu)氧(yang)(氮(dan))氣(qi)需(xu)求量(liang)大、純(chun)度(du)高,且要求連續(xu)供氣(qi),并將液氧(yang)(氮(dan))作(zuo)(zuo)為儲備氣(qi)源的(de)(de)生(sheng)產(chan)場合,變壓吸(xi)(xi)附法(fa)(fa)(PSA)和膜分(fen)(fen)(fen)離法(fa)(fa)是(shi)新興(xing)的(de)(de)制氧(yang)(氮(dan))方法(fa)(fa),其技(ji)術日臻(zhen)成(cheng)熟,適(shi)用(yong)(yong)于(yu)氧(yang)(氮(dan))氣(qi)需(xu)求量(liang)小、純(chun)度(du)低、開停迅速、操作(zuo)(zuo)彈性大、無需(xu)液體產(chan)品的(de)(de)生(sheng)產(chan)場合。
目前,國內(nei)外大型空分(fen)裝(zhuang)置(zhi)流(liu)(liu)(liu)程(cheng)(cheng)多數(shu)采(cai)用(yong)深冷(leng)法(fa)。根(gen)據產品壓(ya)(ya)(ya)縮情況,深冷(leng)法(fa)可分(fen)為外壓(ya)(ya)(ya)縮流(liu)(liu)(liu)程(cheng)(cheng)和(he)內(nei)壓(ya)(ya)(ya)縮流(liu)(liu)(liu)程(cheng)(cheng)。其中,內(nei)壓(ya)(ya)(ya)縮流(liu)(liu)(liu)程(cheng)(cheng)較為廣(guang)泛地應用(yong)在冶金(jin)、石油化工(gong)等行業(ye)。根(gen)據循(xun)環(huan)增壓(ya)(ya)(ya)機壓(ya)(ya)(ya)縮介質(zhi)的不(bu)同,內(nei)壓(ya)(ya)(ya)縮流(liu)(liu)(liu)程(cheng)(cheng)通(tong)常可分(fen)為空氣(qi)循(xun)環(huan)流(liu)(liu)(liu)程(cheng)(cheng)和(he)氮氣(qi)循(xun)環(huan)流(liu)(liu)(liu)程(cheng)(cheng)。
空分設備系(xi)統,如圖(tu)5-150所示。

目(mu)前(qian)空(kong)(kong)分(fen)設(she)備(bei)(bei)流(liu)(liu)程(cheng)(cheng)(cheng)(cheng)主要分(fen)為外(wai)壓(ya)(ya)(ya)(ya)(ya)縮(suo)流(liu)(liu)程(cheng)(cheng)(cheng)(cheng)和(he)內壓(ya)(ya)(ya)(ya)(ya)縮(suo)流(liu)(liu)程(cheng)(cheng)(cheng)(cheng)。外(wai)壓(ya)(ya)(ya)(ya)(ya)縮(suo)流(liu)(liu)程(cheng)(cheng)(cheng)(cheng)就是空(kong)(kong)分(fen)設(she)備(bei)(bei)生(sheng)產(chan)低壓(ya)(ya)(ya)(ya)(ya)氧(yang)(yang)(yang)氣,然后經(jing)氧(yang)(yang)(yang)壓(ya)(ya)(ya)(ya)(ya)機加(jia)壓(ya)(ya)(ya)(ya)(ya)至所需壓(ya)(ya)(ya)(ya)(ya)力供給(gei)用(yong)戶。內壓(ya)(ya)(ya)(ya)(ya)縮(suo)流(liu)(liu)程(cheng)(cheng)(cheng)(cheng)是相對于(yu)外(wai)壓(ya)(ya)(ya)(ya)(ya)縮(suo)而言的(de)(de)。就是取消氧(yang)(yang)(yang)壓(ya)(ya)(ya)(ya)(ya)機,直(zhi)接從空(kong)(kong)分(fen)設(she)備(bei)(bei)生(sheng)產(chan)出中(zhong)高壓(ya)(ya)(ya)(ya)(ya)的(de)(de)氧(yang)(yang)(yang)氣供給(gei)用(yong)戶。內壓(ya)(ya)(ya)(ya)(ya)縮(suo)流(liu)(liu)程(cheng)(cheng)(cheng)(cheng)與(yu)外(wai)壓(ya)(ya)(ya)(ya)(ya)縮(suo)流(liu)(liu)程(cheng)(cheng)(cheng)(cheng)的(de)(de)主要區別在(zai)于(yu)產(chan)品氧(yang)(yang)(yang)的(de)(de)供氧(yang)(yang)(yang)壓(ya)(ya)(ya)(ya)(ya)力是液(ye)氧(yang)(yang)(yang)在(zai)冷箱內經(jing)液(ye)氧(yang)(yang)(yang)泵(beng)加(jia)壓(ya)(ya)(ya)(ya)(ya)達到(dao)的(de)(de),如圖5-151所示。

2. 空(kong)壓站工(gong)藝流程(cheng)簡介
在煉油(you)和石油(you)化(hua)工企業(ye)的生產中,作為常(chang)用吹掃介質的工廠空(kong)氣(qi)及儀表(biao)動力來(lai)源的儀表(biao)空(kong)氣(qi)是必(bi)不可少的。因此,在煉油(you)和石油(you)化(hua)工企業(ye)的工廠設計中,經常(chang)能(neng)遇到作為重要輔助設施的空(kong)壓站的設計。
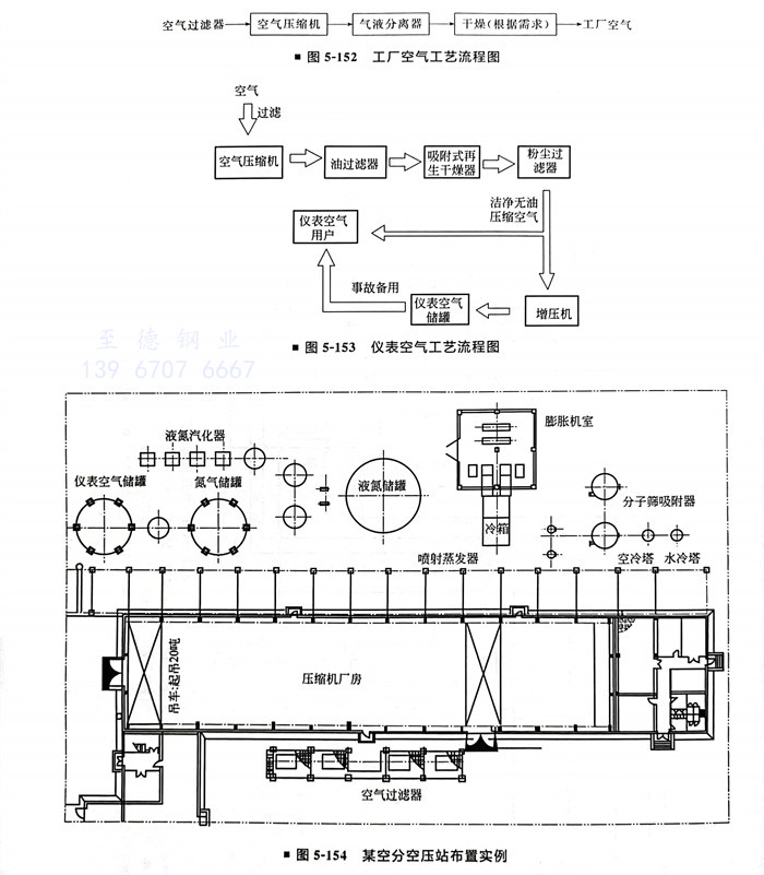
工廠(chang)空氣(qi)工藝流程圖(tu),如圖(tu)5-152所示(shi)。儀表空氣(qi)工藝流程圖(tu),如圖(tu)5-153所示(shi)。

3. 某空分空壓站布置實例(圖5-154)

